![]() |
Amicale Spitfire Bienvenue sur Cyberspit ! Ce forum est réservé aux discussions autour des Triumphs. Lisez-moi |
|
| Retour à la liste des messages | Dernier message | |
| bernard 31/01/2023 00:16 |
GORGE CREMAILLERE |
|---|---|
| (Le fichier "20230130_220723.jpg" est trop volumineux ou le nombre d'élement maximum est dépassé et n'a pas été enregistré) Bonjour je fais de nouveau appel a vous , je suis toujours en rénovation sur ma spit 1500 actuellement sur la crémaillère en attente des pièces je scrute les revues techniques et le forum j ai trouvé de bon conseil pour le remontage mais il me reste un doute au fond du logement du pignon j ai une bague avec rainures verticale et horizontale sur le corps inferieur du pignon aucune clavette ou autre j espère etre clair et que la photo va se charger. merci a vous |
|
| bernard 31/01/2023 00:18 |
re : GORGE CREMAILLERE |
| (Le fichier "20230130_220723.jpg" est trop volumineux ou le nombre d'élement maximum est dépassé et n'a pas été enregistré) photo |
|
| bernard 31/01/2023 00:26 |
re : GORGE CREMAILLERE |
![]() |
|
| bernard 31/01/2023 00:33 |
re : GORGE CREMAILLERE |
| (Le fichier "20230130_220715 222222222222222222222222222222222.jpg" est trop volumineux ou le nombre d'élement maximum est dépassé et n'a pas été enregistré) photo |
|
| bernard 31/01/2023 00:47 |
re : GORGE CREMAILLERE |
![]() |
|
| tommybolin 31/01/2023 11:50 |
re : GORGE CREMAILLERE |
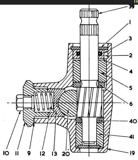
![]() Non pas de souci ce sont des rainures de graissage. Gaffe à bien orienter côté pignon le chanfrein de la rondelle de butée qui vient au dessus. (n°40) cdlt :) |
|
| bernard 31/01/2023 16:02 |
re : GORGE CREMAILLERE |
| Bonjour Merci Tommy je n'ai pas trouver ton plan de coupe si tu peux m'indiquer ou le trouver stp pour avoir la nomenclature des reperes . Merci a toi. |
|
| bernard 31/01/2023 16:02 |
re : GORGE CREMAILLERE |
| Bonjour Merci Tommy je n'ai pas trouver ton plan de coupe si tu peux m'indiquer ou le trouver stp pour avoir la nomenclature des reperes . Merci a toi. |
|
| tommybolin 31/01/2023 16:49 |
re : GORGE CREMAILLERE |
| C'est extrait d'un manuel TR6 mais mécanisme identique. voir ici: https://www.triumphexp.com/forum/tr6-tech-forum.2/rack-and-pinion.1488186/ :) |
|
| bernard 31/01/2023 21:43 |
re : GORGE CREMAILLERE |
| Merci tommy super | |
| bernard 03/02/2023 16:41 |
re : GORGE CREMAILLERE |
![]() Voila terminé merci pour votre aide . Je passe au moteur. |
|
| Retour à la liste des messages | |
* : indique un auteur identifié comme membre de l'Amicale Spitfire
(c) 2025 Amicale Spitfire




