Skip navigation

Cyberspit Amicale Spitfire
Bienvenue sur Cyberspit !

  Ce forum est réservé aux discussions autour des Triumphs.
Lisez-moi
Recherche :


Uniquement dans ce fil

Retour à la liste des messages | Dernier message
Calou24

10/08/2025
10:08
Direction
Bonjour a tous.
Voilà ! pas de jeu quand je roule, mais dans les manœuvres. C'est bizarre, j'ai l'impression que les roues tournent trop et j'ai l'impression que les roues glissent plutôt qu'elles roulent . Ça me fait penser à nos petites voitures à pédales de mon enfance
quand on avait le volant tourné et que les roues ne sont plus dans l'axe .
Pierre 78

10/08/2025
10:45
re : Direction
Bienvenue dans le monde des petits chassis triumph, tout est normal pour ce phenomene.
jpc 8430

10/08/2025
11:21
re : Direction

@ Calou24

C est dû a un angle de braquage particulièrement grand:
L’origine était de pouvoir faire demi tour sur les petites routes de campagne Anglaise .

A éviter , car le " tourillon " qui maintient l axe en bas est " Assez " fragile , et a la longue peux casser ;( ;(

Imagine a 60 kl/h !!!!

Cdlt
j p c

Calou24

10/08/2025
11:40
re : Direction
Ok, merci pour ce commentaire rassurant alors tout va bien, :) j'en aurai sûrement d'autre je découvre.
Bonne journée
Calou24
CityHunter

13/08/2025
15:34
re : Direction
c'est d'ailleurs étonnant que ici ou ailleurs il n'y est pas un mec qui est pensé à faire des butées de braquage....
tommybolin

13/08/2025
16:55
re : Direction

Bonjour,
@City, La Spit est + cheap, mais sur les TR Triumph a prévu ça (excentrique + butées à la base du porte-moyeu)
cdlt :)
dyngo

13/08/2025
17:24
re : Direction
C'était un des points fort dans la vente herald.
Pas logique le limiter alors ..
jean (02) *

13/08/2025
19:43
re : Direction

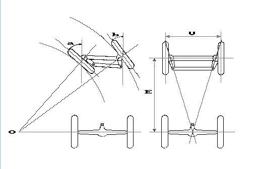
@calou24. C'est dû au fait que la direction de la Spitfire est une aberration.
Par facilité technique ils ont mis la crémaillère en avant de l'essieu avant, alors qu'il faudrait qu'elle soit derrière.
De ce fait la roue extérieure braque plus que la roue intérieure alors que ça devrait être le contraire. Donc quand on braque fort, le pneu extérieur ripe gravement sur la route, on a l'impression que la voiture ne veut pas tourner et ça force beaucoup sur les pivots. La TR6 n'est pas mieux lotie je crois.
La géométrie parfaite étant celle de ce dessin (épure de Jeantaud )
CityHunter

15/08/2025
12:14
re : Direction
la spitfire est une auto faite a l'économie.
Tant en conception que en réalisation.
Il n'y a pas que la crémaillère qui est mal foutue.
dyngo

15/08/2025
15:43
re : Direction
La spit est faite à l'économie par utilisation de pièces existantes de herald.
Herald, concept des années 50 est bien construit pour son temps et n'était pas particulière bon marché.
La crémaillère très direct et précis on trouve enfin dans presque tous les triumphs après guèrre.
Les freins à disque des le premier spit moderne et pas vraiment changé dans la vie de spit.
Quant je roule dans ma spit mk3 (1500 od) aujourd'hui c'est toujours une voiture qui roule à merveille.
Accélération, des bons freins, et toujours sufficement de puissance, même sur autoroute.
Retour à la liste des messages

* : indique un auteur identifié comme membre de l'Amicale Spitfire


Ajouter un message à cette discussion
Nom email (n'apparaitra jamais sur le site) 795
Sujet

Option : Maxi 10 images uniquement JPEG (300Ko chacune) ou 5 PDF (5Mo chacun)

Attention ! Respectez ces formats et poids, sinon vos fichiers ne seront pas chargés.

Message

Recevoir par mail les réponses
Recopiez ici le numéro là haut à droite (système anti-robot)
Recharger le fil Cliquer une seule fois !

Si vous n'êtes pas adhérent, enregistrer votre pseudo évitera les trolls indésirables !

(c) 2025 Amicale Spitfire